УСПИ «Исеть-2». Руководство по эксплуатации
×
Меню

1.6.4.3. Модуль управления питанием «УПМД-1»

Модуль управления питанием «УПМД-1» предназначен для включения модема при инициализации канала связи. Канал связи инициализируется при включении контроллера серии «Синком-Д» и при потере связи.
 
   
 
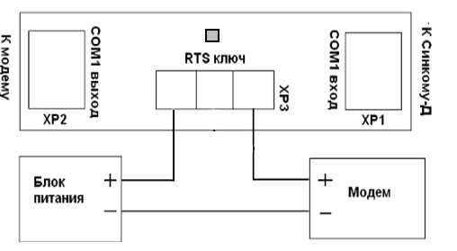
Внешний вид модуля управления питанием «УПМД-1»
 
Для подключения внешних цепей используются винтовые клеммы 2.5 мм²
 
Схема подключения блока питания модема
 
Установленный на плате светодиод показывает состояние сброса модема. Т.е разомкнутое состояние ключа.
 
Таблица контактов для подключения
ХР1
ХР2
 
 
Конт.
Цепь
Конт.
Цепь
1
B
1
B
2
RXD
2
RXD
3
TXD
3
TXD
4
A
4
A
5
GND
5
GND
6
 
6
 
7
RTS
7
Не используется
8
CTS
8
Не используется
 
Технические характеристики модуля управления питанием «УПМД-1»: